Valves for meeting chemical safety regulations
In the year following the West Fertilizer ammonium nitrate explosion, which killed 14 workers and firefighters, injured 226, and damaged a large swath of the community, including three closely located schools, the urgency to identify risk sites and prevent the occurrence of similar disasters was palpable. The Chemical Safety Board (CSB) released its preliminary findings five days after the first anniversary of the explosion, finding that both the West Fertilizer Company and the overseeing agencies lacked appropriate emergency response plans and adequate safety standards at both state and federal levels.
The problem
A core regulation for managing highly hazardous chemicals used in industry is OSHA’s Process Safety Management (PSM), as outlined in OSHA 29 CFR 1910.119. Experience revealed major shortcomings with this guidance:
- Lack of compliance and enforcement
- Several exclusions make the regulation less comprehensive and inadequate
- Lack of consistency with EPA regulations
Currently OSHA’s Process Safety Management (PSM) requirements and the EPA Risk Management Plan (RMP) apply to regulated chemicals and their respective threshold quantities. However, RMP’s list includes more chemicals than OSHA’s and has different threshold quantity and concentration limits. OSHA’s PSM has a number of exclusions, not shared by the EPA’s RMP, and a number of hazardous processes are not covered in the PSM.
The solution
The U.S. Executive Order (EO) 13650: Improving Chemical Facility Safety and Security, signed by President Obama on Aug. 1, 2013, calls for a working group of industry agencies to review the current standards and regulations. The goal of the order is to achieve greater safety while reducing redundancy and burden of compliance. If successful, the order should produce standard operating procedures for a unified federal approach to identify and respond to risks in chemical facilities, including during pre-inspection, inspection execution, post-inspection, and post-accident investigation activities.
Participating agencies in the EO’s Working Group include OSHA, EPA, and the Department of Homeland Security (DHS), Department of Justice (DOJ), Department of Labor (DOL), Department of Transportation (DOT), Department of Agriculture (USDA), as well as state and local groups.
The Working Group’s first year focused on gathering information and listening to industry’s concerns. While the process is still in study phase, one can anticipate recommendations made by the CSB and other industry leaders.
Although the EO and the recent CSB recommendations target ammonium nitrate facilities, the EO also covers multiple chemicals that may present toxic, fire or explosion hazards. Since chemicals, such as chlorine, are used in many kinds of processes, the impact of the EO may have far-reaching implications throughout the industry.
RELATED: Safety Measures—Thermally Activated Emergency Isolation Valves for Oil & Gas Applications
The role of valves in chemical facility safety and security
OSHA’s PSM requires written safety plans with block flow diagrams or simplified process flow diagrams depicting the technology used in the process.
It should be noted that structured methods, such as Layer of Protection Analysis (LOPA), have been included in the Cal/OSHA’s PSM regulations recommendations, and may be included in the federal EO. A layer of protection analysis identifies risk events. Each risk event is broken down into a logic tree of safe outcomes and failure. The evaluation iterates through multiple, sequential potential failure events.
When using LOPA methods, analysts select the appropriate safety integrity level (SIL) at each potential failure point in a safety instrumented system (SIS). Reference standards for an SIS—the instrumentation and controls used to achieve (or maintain) a safe state with respect to a specific process risk—include ANSI/ISA-84.00.01. Note that the control elements in an SIS must be dedicated solely to the proper functioning of the SIS and work independently of any other control systems.
OSHA’s PSM, the EPA’s RMP currently do not prescribe specific safety solutions, leaving design to the processing facility. The EO may go further by providing a definition for Recognized and Generally Accepted Good Engineering Practice. One can anticipate the safety system designs detailed by insurers, such as the XL Group’s Global Asset Protection Services, may be used as industry benchmarks.
The presence of hazardous materials in the chemical and petrochemical process industry presents significant fire and explosion hazards. Due to the large volumes handled and the location of the process equipment containing these materials, it poses a significant loss prevention concern, and fire protection challenge. An uncontained release of these materials could evolve into a vapor cloud or large spill, which upon ignition would result in a major explosion and/or fire scenario with serious consequences. Layers of protection consisting of engineering and administrative control measures need to be incorporated into the facility’s design.
The installation of emergency block valves (EBV) on process piping and equipment is a key component of the various layers of protection. EBVs are used to shut down the system in the event of an emergency; and remotely operated EBVs are an acceptable loss prevention practice for reducing the size of a release or spill. The location and operation mode of the EBV must be determined based on the control needs and the potential exposure. Identifying the failure modes and potential release volumes should be done through formal risk assessment to support the use and location of the EBV. XL GAPS recommends the use of remotely operated EBV to isolate equipment during fire or other emergencies. Consider the use of EBVs at the following locations:
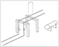
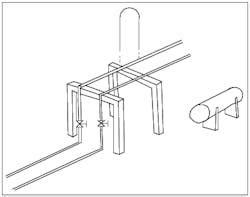
- Zone EBV to isolate a process unit from any other unit; the EBV is placed at the ends of pipe racks (Figure 1).
- EBV designed to fail safe between the bottom of towers and respective pumps, and between accumulator drums and bottom pumps, and to separate columns in series (Figure 2).
- EBVs on the suction and discharge lines of flammable gas compressors having a driver that exceeds 150 KW. Arrange driver for automatic shutdown prior to isolation of compressor (Figure 3).
- EBV designed to fail safe on all loading arms at marine terminals handling flammable materials (Figure 4).
- EBVs after the first flange at the bottom of LPG and LNG storage spheres or tanks.
- EBV on the feed and suction lines associated with large flammable liquids storage tanks.
- EBV on the fuel feed lines to fired heaters and boilers. Double block and bleed valves shall be used. Depending on operating conditions, the use of swing check valve and overpressure protection might be required.
Emergency valves at a process unit
Emergency isolation valves on gas compressor & loading arm
The type of valves should be selected based on the fluid handled and operating conditions. Valves should be automatic operating, fire safe, spring-loaded, or a combination of methods as required for operating under normal condition and during exposure to fire. Automatic valves are arranged for operation via motor, pneumatic, or thermal-actuated controllers; these valves can be operated remotely from the control room, or in some cases, the valves can be arranged for manual operation providing they are installed at a location considered accessible during a fire situation. In some cases, and depending on the fire exposure condition, the valve, its actuator, and supports might be required to be fireproofed. If the EBV is incorporated into the emergency shutdown system for the process unit or system, the EBV system needs to be designed for high integrity level to help ensure reliable operation when needed.
Incentives to re-evaluate emergency safety shutdown systems
OSHA currently requires a revalidation of the Process System Analysis every five years. This analysis outlines the range of the possible employee safety and health effects of failure of controls. It also requires an annual certification to the documentation accuracy describing safety systems.
The EO will likely require greater comprehensive monitoring and enforcement. According to the CSB, compliance to existing standards and regulations remains a persistent problem. To address this issue, the California state legislature recently approved budgets for new inspector positions at the state’s Cal/OSHA PSM unit. The frequency and comprehensiveness of inspections will also likely be addressed in the federal EO.
Responsible manufacturers will find it prudent to task their safety engineers to re-evaluate their emergency shutdown systems and equipment. Proven technologies and experience demonstrate the need for automatic shutdown and isolation of hazardous materials, allowing plant employees safe and quick evacuation.
Written procedures are required regarding the on-going integrity of process equipment, including piping and valves and employers must provide training on safety processes and hazards, and workflows to assure safe operation, shutdown, and emergency shutdown of the system.
Inspection & testing
Testing emergency systems for process equipment presents some special challenges. For example, a fusible link in emergency block valves cannot be tested and reset. Since the fusible link cannot be routinely tested, it is important to select fusible link designs that hold up well over time and components are inspected according to manufacturers’ guidelines.
Federal agencies have been hammered by budget cuts. Declining EPA enforcements are concerns of non-government organizations who are requesting greater transparency regarding safety risks. According to the Center for Effective Government, one-in-ten American schoolchildren are within one mile of a potentially dangerous chemical facility. The center’s website provides a map overlaying the EPA’s Risk Management Program (RMP) facilities and elementary through high schools.
Impact of EO on users of valves & actuators
Flow control and routine system shutdowns provide ongoing feedback on the effectiveness of the working system. However, designing and testing for emergency systems provides a unique set of challenges. Emergencies do not occur on a regular basis within a plant, so there are fewer opportunities to learn from experience. And when emergencies do happen, there may be a sequence of failed events that contribute to larger catastrophes, making it difficult to reverse engineer all of the breaks in the system. Isolation valves and emergency block valves play important roles in isolating failures to protect downstream equipment and to prevent large accumulation of toxic or flammable media.
If the EO is able to simplify the standards and regulations across the multiple federal agencies, as well as provide more frequent inspections, one can anticipate greater use of emergency shutdown systems using isolation valves and emergency block valves for the protection of those one-in-ten schoolchildren who attend school within a mile of potentially dangerous chemical facilities.
References
- "OSHA 29 CFR 1910.119," United States Department of Labor, Occupational Safety & Health Administration (OSHA), www.osha.gov.
- "EPA Risk Management Plan," United States Environmental Protection Agency, www2.epa.gov/rmp.
- "Improving Public and Worker Safety at Oil Refineries Report of the Interagency Working Group on Refinery Safety," February 2014, California Environmental Protection Agency (CalEPA) www.calepa.ca.gov.
- "Layer of Protection Analysis (LOPA)," ABSG Consulting Inc., www.absconsulting.com/layer-of-protection-analysis.cfm.
- "Interactive Map: Students, Others at Risk from Hazardous Chemical Facilities," Sofia Plagakis, 4/17/2014, Center for Effective Government, www.foreffectivegov.org/node/13013.
- "FM Fire-Safe Thermal & Electro-Thermal Shutoff Valves with Fusible Links, Heat-Activated Automatic Shut-Off Valves," Assured Automation, www.assuredautomation.com/firesafe/.
Jean Steckler is a fire protection and safety code team leader at Assured Automation (Clark, NJ), an assembler of automated valves and flowmeters. She is involved with the line of thermal and remote safety shutoff valves, including the FM Fire-Safe Thermal and Electro-Thermal Shutoff Valves, Emergency Isolation Valves, and the FireChek® Heat-Activated Pneumatic Shutoff. Ms. Steckler can be reached at 731 381-2255 or [email protected].
Luis Arango, P.E., is a Senior Loss Prevention Consultant with XL Global Asset Protection Services. Luis conducts property loss prevention surveys at large chemical plants throughout North America. Mr. Arango can be reached at 972 383-3114 or [email protected].




